Допустимые форматы: JPG, PNG, DOCX, PDF, DWG. Размер не более 2 МБ.

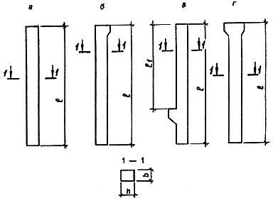
Колонны для одноэтажных промышленных зданий

Колонны для одноэтажных промышленных зданий

Колонны типа К для зданий высотой 3,0-9,6 м изготавливаются по серии 1.423.1-3/88 и ГОСТ 25628-90.

Структура марок колонн

1 К 2 - 3 4 - 5 6 7   , где
1 - номер типоразмера  колонны данной высоты этажа здания;
К - наименование изделия – колонна;
2 - высота этажа в дециметрах (30, 36, 42, 48, 54, 60, 66, 72, 78, 84, 96)
3 -индекс. Характеризующий  несущую способность колонны  (1, 2, и т.д.)
4 - индекс. Характеризующий   прочность бетона

  • М2-Класс В15

  • М3-Класс В22,5

  • М4-Класс В30

5 - индекс «С» обозначающий повышенную сейсмостойкость колонны для зданий с расчетной сейсмичностью 8, 9 баллов
6 - индекс. Характеризующий  проницаемость бетона колонны :

  • Н-нормальная, для условий слабоагрессивной среды;

  • П-пониженная, для условий среднеагрессивной среды;

7 - индекс. Характеризующий   различия по закладным изделиям ( присваивается при разработке КЖИ).

свяжитесь с нами

Пожалуйста, заполните форму , чтобы наш специалист связался с Вами в ближайшее время